
影视剧
10关注 | 34287内容
易烊千玺获得金鸡奖影帝

大S的骨灰,做成了7条项链

迪士尼退出DEI 相关术语全部删除

刘奕畅酒后殴打军人,多名艺人参与还串供,事件持续发酵
2024年3月25日,现役军人梁某在朋友聚会上因拒绝陪酒遭群殴,导致两处颅骨骨折和短暂意识丧失,案件已进入司法程序,涉案人员被羁押或取保候审,社会关注点在于如何保护受害者权益和防止权力干预司法。具体如


共5张不知道各位是否同意我这个观点?其实,超级英雄文化的本质实际上是帮派文化?
任何事物都只分为邪恶和正义的两个方面,而帮派文化最早是起源于中国古代的墨家,本身也分为左翼和右翼这两个性质的追求公平正义的帮派与追求违法犯罪的帮派,因此,那些追求公平正义的帮派和超级英雄最终形成的联盟
包文婧称是因为长相选择了包贝尔:痞痞坏坏的长相

老奸巨猾

1534次播放 | 01:54超级英雄文化的本质是否是江湖人文化呢?
这是一个非常精彩的问题,它直指东西方文化中两种最具魅力的“侠士”形象的核心。我的结论是:超级英雄文化在精神内核上与江湖人文化高度同源,它们共享着一个关于“侠”的原始母题;但超级英雄文化是江湖人文化在现


共3张沸羊羊最爱的其实是他

死前再爽一次吧

1031次播放 | 03:10国庆长假多位老戏骨集体景区再“上岗” 唐僧、鸠摩智等重现经典角色

后来 有了一切 却唯独失去了你 这就是青春 年轻时的山盟海誓 后来发现却如此可笑

1202次播放 | 05:07男人只要没钱花,就给妻子下药送给他人!

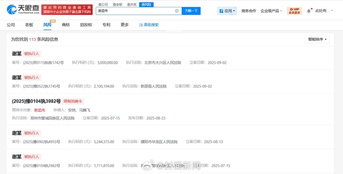
386次播放 | 04:24嘎子谢孟伟再被强制执行710万,此前已被限制高消费
【#嘎子谢孟伟被限制高消费##谢孟伟新增2条被执行人信息#】天眼查App显示,近期,谢孟伟(嘎子哥)新增2条被执行人信息,执行标的合计710万余元,被执行人还包括郭珊珊(谢孟伟妻子)等,执行法院为北京


共5张让你偷龙蛋,没让你割龙蛋!

637次播放 | 01:22正在加载



